欢迎光临乐清路军网络科技有限公司官方网站!

暗装器具插头

  • CEE-615/625

CEE-615/625

  • 015.jpg

    电       流   Current(A): 16A/32A

    电       压   Voltage(V):   220-380V~/240-415V~

    极       数   No. of poles: 3P++N+E

    防护等级  Protection degree: IP44


613.jpg


16Amp

32Amp

Poles

3

4

5

3

4

5

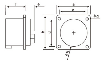
a×b

70

70

70

70

70

70

c×d

56

56

56

56

56

56

e

25

25

26

30

30

30

f

41

41

42

50

50

50

g

5

5

5

5

5

5

h

43

43

55

55

55

55

Wire flexible [mm²]

1-2.5

2.5-6


联系我们

公 司:乐清路军网络科技有限公司

联系人:郑经理

电话:0577-27880261

手机:13587965072

E-mail:768259840@qq.com

地 址:浙江省乐清市柳市工业区

友情链接: 浙ICP备20241089162222号