欢迎光临乐清市铭品电器有限公司官方网站!

工业连接器

  • CEE-214n/224n

CEE-214n/224n

  • 014.jpg

    电       流   Current(A): 16A/32A

    电       压   Voltage(V):  380-415V~

    极       数   No. of poles: 3P+E

    防护等级  Protection degree: IP44


213N.png


16Amp

32Amp

Poles

3

4

5

3

4

5

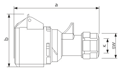
a

129

135

142

159

159

165

b

76

80

89

92

92

98

k

6-15

6-15

8-16

10-20

10-20

12-22

sw

38

38

42

50

50

50

Wire flexible [mm²]

1-2.5

2.5-6


联系我们

公 司:乐清市铭品电器有限公司

联系人:陈经理

电话:0577-27880261

手机:13757879828

E-mail:cee@ceeplugs.com

地 址:浙江省乐清市柳市工业区

友情链接: 浙ICP备2024108916号