欢迎光临乐清路军网络科技有限公司官方网站!

工业连接器

  • CEE-233/243

CEE-233/243

  • 013.jpg

    电       流   Current(A): 63A/125A

    电       压   Voltage(V):  220-250V~

    极       数   No. of poles: 2P+E

    防护等级  Protection degree: IP67


233.png


63Amp

125Amp

Poles

3

4

5

3

4

5

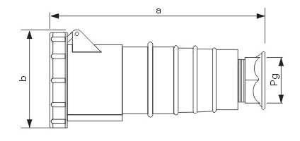
a

240

240

240

300

300

300

b

112

112

112

126

126

126

pg

36

36

36

50

50

50

Wire flexible [mm²]

6-16

16-50


联系我们

公 司:乐清路军网络科技有限公司

联系人:郑经理

电话:0577-27880261

手机:13587965072

E-mail:768259840@qq.com

地 址:浙江省乐清市柳市工业区

友情链接: 浙ICP备20241089162222号